一、推拉力计简介
Nk系列推拉力计是小型便攜式的拉力、压力测试仪器,具有高精度、易操作、可同时显示牛顿和公斤单位、攜带方便之优点,而且有一个可作荷重峰值(PEAK)测试及连续荷重值(TRACK)测试切換使用的切換旋钮(PEAK/TRACK钮)。现广泛应用于电子、高低压电器、五金製锁、汽车配件、粘胶化工、打火机及点火装置、製笔、轻工、建筑、纺织、机械等行业和科研机构作拉压负荷、插拔力、破坏性试验测试等,是老式测力计的替代产品。使用本仪器前请详细阅读此说明书,以便充分运用本仪器所具有的功能,使测试时能得到准确的数值。
二、随机附件明细表

三、结构名称

四、外形及安装尺寸

五、规格参数

六、测试前准备
选择合适的测试用接头夹具,安装到推拉力计上。
(1) 拉伸测试
将拉伸用夹具安装到推拉桿上标示拉 (PULL)的一端。
(2) 压缩测试
将推压用夹具安装到推拉桿上标示压(PUSH)的一端。
(3) 加长桿的应用
当单凭拉、压用夹具无法接触到被测试物时,请利用加长桿来安装夹具。
注意:测试时,被测试力与推拉力计的推拉桿需在同一直线上,否则 无法测得准确的荷重值。
(4) 切換旋钮的使用方法
(a) 荷重峰值(PEAK)——连续荷重值(TRACK)的切換将切換:旋钮轻轻的往下压同时往左方向转,使旋钮的“●”标记停在连续荷重值(TRACK)的位置上。
(b) 连续荷重值(TRACK)——荷重峰值(PEAK)的切換将切換:旋钮往右方向转,此时旋钮弹出,旋钮的“●”标记停在荷重峰值(PEAK)的位置上。
(c) 测试后的注意事项:测试完成后,请将切換旋钮的“●”标记置于荷重峰值(PEAK)的位置上。如果长期置于连续荷值(TRACK)的位置上。则内部的复位弹簧的使用寿命会缩短。
(5) 刻度盘的调整
(a) 请确认指针是否对准刻度盘的(O)位。如果没有对准,请旋转刻度盘调整圈,刻度盘会一齐动作,使指针对准(O)位。
(b) 推拉力计垂直放置使用时,特别是在安装有夹具的情况下,即使没有施加负载,指针也会偏向一边,这是机器的自重所緻。旋转刻度盘调整圈使刻度盘的(O)位与指对准即可——这对测试结果的准确性没有影响。
注意:如经常对本机器施加超过最大测试范围的负载,荷重检出机构的弹簧弹性会逐渐劣化,道緻无法检出正确的荷重值。使用时请注意不要施加超过最大测试范围的负载,以维护机器的使用寿命。
七、测试
(1) 请牢固的握住推拉力计或将推拉力计安装于合适的测试机台上进行测试。测试时请使被测试力和推拉力计的推拉桿成一直线,以便测得准确的荷重值。

(2 ) 测试中荷重的变化
(a) 切換旋钮置于连续荷重值(TRACK)时,指针会随着荷重的变化而动作。
(b) 切換旋钮置于荷重峰值(PEAK)时,当测试力达最大荷重时,指针会停在最大荷重值的位置,方便使用者读取数据。要将指针归零,按下切換旋钮即可。

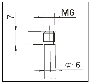
八、自製夹具
为了使推拉力计能测得准确及稳定的测试值,请务必充分利用附带的夹具。用户如要製造适合测试用的夹具时,请参考右图所示的推拉桿连接尺寸。
九、保养和维护
(1) 请勿施加超过推拉力计最大负荷的荷重,以免损坏仪器。
(2) 请按规定妥善保管和存放,避免将推拉力计保管或使用于低溫、低湿或高溫、高湿及有腐蚀介质的场所,以免损坏仪器。
(3) 发生故障请与经销商联系。