里 氏 硬 度 计
使 用 说 明 书
前 言
亲爱的用户,感谢您购买了我公司生产的里氏硬度计(以下简称“硬度计”),此硬度计为便携式检测仪器,采用数据处理系统的结构,具有体积小、重量轻、便于携带等特点。在您开始使用本仪器之前,请您务必详细阅读这本“使用说明书”,它将会为您正确使用本仪器提供必要的帮助,希望能使您满意。
本系列硬度计符合以下标准:
《里氏硬度计技术条件》 JB/T 9378-2001
《金属材料硬度值转换关系 》 ISO 18265 : 2003
目 录
前 言……………………………………………………………………….……….........……1
目 录………………………………………………………………………………….…..……2
1硬度计各部分名称………………………………………………………………..…4
2硬度计性能及应用………………………………………………………..…………9
3里氏硬度测试原理…………………………………………………………………16
4试件的预处理……………………………………………………………..…………18
5使用与操作……………………………………………………………………………24
6保养………………………………………………………………………………..……47
7影响测试精度的几个问题………………………………………………..….……48
8故障分析与维修………………………………………………………………..……54
9非保修零件清单………………………………………………………………..……58
10“标准里氏硬度块”的使用说明……………………………………..…….…58
用 户 须 知………………………………………………………….……………….….…61

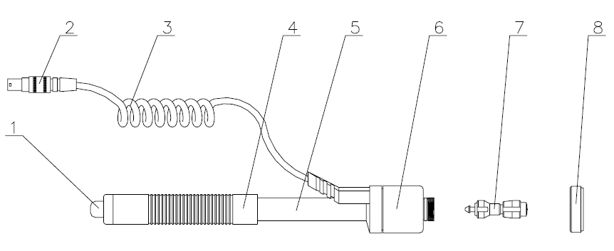
1.%2 D 型冲击装置

1.释放按钮 2.冲击装置插头 3.导线 4.加载套
5.导管 6.线圈部件 7.冲击体部件 8.支撑环
2.%2 可选购的其它冲击装置

DC C E D+15 DL G
1.4冲击装置技术参数
表1: 冲击装置技术参数一览表


3 硬度计性能及应用
3.1 产品特点
本硬度计是一种先进的便携式硬度测试仪器,具有易携带、测试精度高、测量范围宽、操作方便并适用于所有常用金属等特点。因此可以广泛应用在石油、化工、机械、电子等各种行业。
仪器特点:
1) 超薄壳体,尽在掌握
2) 适应多种冲击装置和6种多种硬度制式转换
3) 大而清晰的数字显示
4) 可更换7号干电池
5) 可选的上位机软件,具有完善的数据库功能。支持数据查询、数据存储、统计特征显示、柱状图显示。
3.2 主要用途
• 不便于拆卸的机械或永久性组装部件;
• 模具型腔;
• 直接测量大型或重型的试件;
• 压力容器,汽轮发电机组及其它设备的失效分析;
• 轴承及其它零件生产流水线;
• 要求对测试结果有正规原始记录;
• 金属材料仓库的材料区分;
3.3 主要技术参数
硬度进制:HL、HRC、HRB、HV、HB、HS
测试精度: HLD:±6,HRC:±1,HB:±4
标准冲击装置:D型冲击装置
上下限设置测量范围:(170-960)HLD,(17.9-69.5)HRC,(19-683)HB,(80-1042)HV,(30.6-102.6)HS,(13.5-101.7)HRB
可选冲击装置:D、C 、DC、D+15、DL、G
同时可配冲击装置数量:任意
计算机接口: USB2.0
文字说明: 全中文菜单
屏幕显示: 128×64点阵LCD,具有背光,可调节对比度
测试方向: 支持360度(垂直向下、斜下、水平、斜上、垂直向上)
数据储存: 可存储200组测试数据
测量工件的最大硬度颠值: 940HV(D、DC、DL、D+15、C型冲击装置)
测试材料数量:钢和铸钢、合金工具钢、灰铸铁、球墨铸铁、铸铝
合金、铜锌合金(黄铜)、铜锡合金(青铜)、纯铜
电源: 1.5V干电池
持续工作时间:约150小时(不开背光时)
外形尺寸:155mm×68mm×27mm
重量:约230g
3.4 主要功能参数
• 通过按键选择测试材料、硬度制式、测试方向及测试次数;
• 可实现六种硬度(HLD、HRB、HRC、HB、HV、HS)间的转换;
• 可反复显示各次测试结果,并可自动或手动删除误操作测试结果;
• 可随时输出单次测试平均值或整体输出所有存储数据;
• 自动检测电池电压,电池低电压预警,在测试状态有电量显示图标;
• 丰富的状态栏显示,蜂鸣器、错误信息、时间、电池电量等多种状态;
• 全中文显示,菜单式操作,操作简单、方便;
• 环境温度:操作温度-10~+50℃;
• 存储温度:-30℃~+60℃。
3.5 测试及换算范围
表2 测量范围表


4 里氏硬度测试原理
4.1 基本原理
随着单片机技术的发展,1978 年瑞士人Leeb博士首次提出了一种全新的测量硬度方法,它的基本原理是具有一定质量的冲击体在一定的试验力作用下冲击试样表面,测量冲击体距试样表面1mm处的冲击速度与回跳速度,利用电磁原理,感应出与速度成正比的电压。里氏硬度值以冲击体回跳速度与冲击速度之比来表示,较硬的材料产生的反弹速度大于较软者。
计算公式: HL=1000×(Vb/Va)
式中: HL—里氏硬度值 Vb—冲击体回跳速度 Va—冲击体冲击速度

冲击装置输出信号示意图
4.2 里氏硬度计
根据里氏原理设计生产的硬度计叫里氏硬度计,它用于金属材料硬度的测试。具有测量范围宽,测试方向任意等优点。
4.3 里氏硬度值符号
其它硬度测量方法在改变压头和试验力(载荷)时其测试值不同。同样,里氏硬度测试在采用不同类型的冲击装置时,其测试值也不能互相代替。
即:720HLD≠720HLG
在将里氏值换算成其它硬度值时,不同的冲击装置换算关系亦有所区别。由于结构不同,故换算其它硬度值后书写符号应符合下列形式:
例:采用C型冲击装置测得的肖氏硬度值书写方式应为52.8HSHLC;
采用D+15型冲击装置测得的维氏硬度值书写方式应为354HVHLD+15;
采用D型冲击装置测得的洛氏C硬度值书写方式应为35.9HRCHLD
5 试件的预处理
5.1 概述
为了减少试件表面粗糙度对测试结果的影响,被测表面应光滑,表面粗糙度Ra值不超过1.6μm,试件表面应干净并且无油污。
5.2 测试时试件的支承与耦合
1) 如试件质量在5kg以上,则无需支承。
2) 质量在2至5kg的试件,有悬伸部分的试件及薄壁试件,测试时,应使用质量大于5kg的物体牢固地将其支承,以免冲击力引起试件的弯曲变形和移动。
3) 质量小于2kg的试件,应使其与大于5kg的支承体紧密耦合,试件耦合面与支承体表面应平整、光滑,且没有多余耦合剂,测试方向必须垂直于耦合面。
4) 试件质量不应小于0.1kg,最小厚度不小于5mm,硬化层深度大于0.8mm。
5) 夹具夹紧而且应垂直于测试方向。
当试件为大面积板材、长杆、弯曲工件时,即使质量、厚度较大,仍有可能引起试件变
6) 形和失稳,导致测值不准,故在测试点的背面应加固或支撑。
7) 试件本身磁性应小于30高斯。
5.3 测试内外圆柱和内外球面时支承环的选择
当被测表面曲率半径小于30mm(D、DC、D+15、C、E、DL型冲击装置)和曲率半径小于50mm(G型冲击装置)的试件在测试时应使用随机配带的小支承环测试

为方便各种异型曲面的测试,对D、DC、D+15、C、E型冲击装置,也可另外购买我公司的异型支承环,以获得最佳测试条件。具体请参照下页表3选用


6 使用与操作

主显示界面图
1. 测量值里氏单位显示区 2. 原始(未校正)里氏测量值 3. 时间显示区 4. 待机标志 5. 电池信息 6. 冲击方向显示区
7. 测量值显示区 8.硬度单位和冲击装置类型显示区 9.测量次数显示区 10.被测材料显示区

键盘示意图
各按键功能:
●
液晶背光/开关键 ●
返回键,返回上一级菜单或取消操作功能
●
向上/保存键 ●
向下/删除键
●
左右调整键 ●
菜单/确认键
●
单位设置快捷键 ●
检测材料设置快捷键●
检测方向设置快捷键
6.1 开机/关机
先将冲击装置连接导线插头插入冲击装置插口,在关机状态下短按开关键
,仪器开启并依次显示如下界面:

自检过程中仪器会自动识别冲击装置类型,最后进入测量主显示界面:

在开机状态下长按开关键
,可以关闭仪器。
6.2 菜单结构图
仪器的测量参数设置、系统参数设置以及测量数据的保存和查看都可以通过菜单操作实现。在主显示界面按
键,进入主菜单——里氏硬度计。在主菜单下按
或
键,可以选择主菜单下的菜单项,再按
键进入选中菜单项的一级子菜单。在一级子菜单下以同样的方式可以进入二级子菜单,在二级子菜单下可以选择或修改参数设置,最后按
键确认设置并返回。按
键可以返回上级菜单。
6.3 设置检测参数
设置步骤如下:
a. 在主显示界面按
键进入主菜单——里氏硬度计,如下图所示:

b. 在主菜单下有三个菜单项——设置检测参数、查看存储数据、系统设置,按
或
键键选中“设置检测参数”菜单项(黑色三角符号为选中标志),按
键进入“设置检测参数”一级子菜单,如下图所示:

c. 按
或
键选中一级子菜单的一个菜单项。
6.3.1 设置测量模式
按
或
键选中“当前检测 硬度”一级子菜单项,按
键切换硬度/强度测量模式。在强度测量模式下,测量单位是强度单位Rm,而且测量强度只能用D型冲击装置。
6.3.2 设置检测方向
按
或
键选中“设置检测方向”一级子菜单项,按
按键进入“设置检测方向”二级子菜单,按
键选择冲击方向——垂直向下、 下斜45度、水平、 上斜45度、垂直向上, 按
或
键确认设置并返回“设置检测参数”一级子菜单。如下图所示:

6.3.3 设置被测材料
如5.3.2所述,进入“选择检测材料”二级子菜单,按
或
键选择一种检测材料,按
或
键确认设置并返回“设置检测参数”一级子菜单。

在硬度测量模式下可以测量9种材料:钢和铸铁、合金工具钢、铸铝合金、灰铸铁、球墨铸铁、不锈钢、铜锌合金、铜锡合金、纯铜。
在强度测量模式下,可以测量以下9种材料:碳钢、铬钢、铬钒钢、铬镍钢、铬钼钢、铬镍钼钢、铬锰硅钢、超高强度钢、不锈钢。
使用快捷键设置检测材料:
本仪器具有设置检测材料快捷键
,在测量主界面中按
按键即可循环改变检测材料设置。
6.3.4 设置检测次数
如5.3.2所述,进入“设置检测次数”二级子菜单,按
或
键减少或增加检测次数,按
或
键确认设置并返回“设置检测参数”一级子菜单。如下图所示:

6.3.5 设置检测上/下限
如5.3.2所述,进入“设置检测上限”二级子菜单,按
键选择数字位,再按
或
键调整该位数值。按
键确认设置并返回“设置检测参数”一级子菜单。如下图所示:

检测下限的设置同检测上限
6.3.6 设置硬度制
如5.3.2所述,进入“选择硬度单位”二级子菜单,按
或
键选择一种硬度单位,按
或
键确认设置并返回“设置检测参数”一级子菜单。在强度测量模式下,测量单位是强度单位σb,测量强度只能用D型冲击装置。如下图所示:

6.3.7 设置冲击装置
如5.3.2所述,进入“选择冲击装置”二级子菜单,按
或
键选择一种冲击装置,按
或
键确认设置并返回“设置检测参数”一级子菜单。如下图所示:

注意:在强度测量模式,冲击装置不可选择,测量强度时只能使用D型冲击装置。
6.4 测试
测试前如有必要可先使用随机试块对仪器进行检验。
随机试块的数值是用标定过的里氏硬度计,在其上垂直向下测定5次,取其算术平均值作为随机试块的硬度值。
1) 加载 (见图一)
向下推动加载套,使冲击体被锁住。
2) 定位 (见图二)
将冲击装置下部的支承环压紧在被测表面,两次测试点距离应大于3mm。
3) 启动 (见图三)
按动冲击装置上部的释放按钮,进行测试。此时要求被测工件、冲击装置、操作者均稳定,并且作用力方向通过冲击装置轴线。



图一 图二 图三
每次测试结束后,示值显示区便显示出该次测试的硬度值或强度值,同时测试次数增加一。若测试值显示“Ex”,表示此次测试超出范围(具体表示见下面说明),本次测试无效。测试次数显示区显示的数字不变。
“ Ex”符号表示意思详细说明:
“ E1”表示不存在此种测试方向 “E2”表示不存在转换表
“ E3”表示测试值上溢出 “E4”表示测试值下溢出
“ E5”表示测试时误操作
6.5 存储/查看数据
6.5.1 存储测量结果
按5.4所述测量完成后,按
按键可以存储数据,确认存储按
按键,取消存储按
键,如下图所示:

6.5.2 查看测量结果
按照5.3.2所述进入“查看存储数据“二级子菜单,按
或
键选择一条数据,按
键查看该组测量结果的详细信息,如下图所示:

按
键翻页,以查看存储数据的所有信息。
6.5.3 删除测量数据
按照5.3.2所述进入“查看存储数据“二级子菜单,按
或
键选择一条数据,长按
键删除该组测量数据,如下图所示:



确认删除按
键,取消删除按
键。
6.6 系统设置
按照5.3.2所述,进入“系统设置“一级子菜单,如下图所示:

6.6.1 设置日期与时间
按
或
键选中“设置时间”一级子菜单项,按
键进入“设置时间“二级子菜单,如下图所示:

按
键锁定欲设置的日期/时间项(闪烁),然后按
或
键改变锁定项数值。按
或
键确认设置并返回“系统设置”一级子菜单。
6.6.2 设置待机时间
按5.6.1所述设置待机时间。若待机时间为0,表示关闭待机功能。待机时间为1表示待机1秒,最长待机时间为10秒,设置了待机时间后主显示界面显示待机标志
。

6.6.3 设置对比度
按5.6.1所述设置对比度,即可改变液晶屏亮度。如下图所示:

6.6.4 设置静音
按5.6.1所述进入“设置静音 关“二级子菜单,按
键关闭/打开静音,如下图所示:

6.6.5 设置语言
参照5.6.4所述切换仪器的中/文显示。
6.6.6 查看序列号
参照5.6.4所述查看仪器的序列号。
其它设置参照5.6.4所述。
7 保养
7.1 冲击装置
1) 在使用1000-2000次后,要用尼龙刷清理冲击装置的导管及冲击体,清刷导管时先将支承环旋下,再将冲击体取出,将尼龙刷以逆时针方向旋入管内,到底后拉出,此反复5-6次清刷后,再将冲击体及支承环装上。
2) 使用结束后,要将冲击体释放。
3) 冲击装置内绝对禁止使用各种润滑剂。
7.2 主机
当仪器电量过低时,应及时更换电池,方法如下:
1) 按
键关机,打开电池仓盖取出电池;
2) 把有电的7号碱性电池并放入电池仓内(注意电池极性),盖好电池仓盖。
仪器长时间不使用时应将电池取出,以避免电池漏液腐蚀仪器。
8 影响测试精度的几个问题
由于里氏硬度计是在动态力的作用下测定金属硬度的,所以影响测试结果准确性的因素较多,故应对这些因素加以一定的限制,主要包括:试验条件、试验对象、操作技巧和数据处理等几个关键环节,下面就一些具体问题探讨一下:
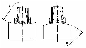
1) 试件曲率对精度的影响:
在现场工作中,经常遇到曲面的试件,各种曲面对硬度测试结果的影响不同,在正确操作的情况下,冲击体落在试件表面瞬间的位置与平面试件相同.故通用支承环即可.但当曲率小到一定尺寸时,由于平面条件的变形的弹性相差显著,会使冲头回弹速度偏低,从而使里氏硬度值偏低.冲头在落于试件曲面时与落于平面上有如下偏差:
对于凸面试件,可根据下式计算出冲头在冲击瞬间比平面条件提前冲击的距离偏差。

式中 h — 距离偏差 r — 试件曲率半径 c — 支撑环内端口直径
对于凹曲面试件,亦可据上式计算出距离偏差,但c改为:支撑环外径。对于随机配置的大支撑环(内、外径分别为8mm,19.5mm)小支撑环(内外径分别为8mm,13.5mm)一般要求距离偏差不大于0.5mm,此要求也适用于焊缝余高等因素引起的距离偏差.
2) 数据换算产生的误差
里氏硬度换算为其它硬度时的误差包括两个方面,一方面是里氏硬度本身测量误差,这涉及到按同一方法重复进行试验时的分散和对于多台同型号里氏硬度计的误差。另一方面是比较不同硬度试验方法所测硬度产生的误差,这是由于各种硬度试验方法之间不存在明确的物理关系,并受到相互比较中测量不可靠性的影响的原因。本仪器的硬度换算是自动完成的,故可用布氏、洛氏、维氏硬度标准块直接确定硬度仪的换算误差。
3) 特殊材料引起的误差
对于特殊材料可用以下方法,自己建立对应关系。
a) 试验面必须仔细制备
b) 如不进行耦合,选择的试样尺寸尽可能大
c) 试样的硬度在硬度计的换算范围内
d) 用相应测量范围的硬度块检查静态硬度计准确性
e) 在试样上用静态硬度计测三个点并在压痕周围用里氏硬度计测五个值,取其平均值。如下图。比较两种方法测出的硬度值即可得出误差范围。也可用一组不同硬度试样用上述方法绘出换算曲线
例如: 3 个布氏硬度压痕 (图中+) 3x5 个里氏测量值(图中o)

4) 齿轮检测中的误差。
一般情况下,此里氏硬度计对于模数大于7的齿轮面的检测是可以保证精确度的,但齿轮模数小于7时,由于齿面较小,测试误差相对较大,对此,用户可根据情况设计相应的工装,将有助于减小误差。
5) 材料弹性、塑性的影响
里氏值除与硬度、强度相关外,更与弹性模量有关,硬度值是材料硬度和塑性的特征参数,因为两者的万分必然是共同测定。在弹性部分,首先明显受E模量影响,不同时,E值低的材料,L值较大。 根据材料的弹性模量、合金类型及热处理状态可以对各种材料分类。
6) 热轧方向造成的误差
当被测工件系热轧工艺成形时,如果测试方向与轧制方向一致,会因弹性模量E偏大而造成测试值偏低,故测试方向应垂直于热轧方向。例如:测试圆柱件截面硬度时,应在径向测试为好(一般圆柱面热轧方向为轴向)
7) 其它因素的影响
a) 对管件测试时需要注意以下几点:
i. 管件注意稳固支撑
ii. 测试点应靠近支撑点且与支撑力平行
iii. 管壁较薄时在管内放入适当芯子
b) 在热处理过程,有时会造成金属材质发生改变(如20Ge钢经渗碳和淬火后,
其由合金结构钢变成低合金工具钢),在此情况下,就注意选择适当的金属材料选择键。
c) 工件本身的硬度离散也造成试值重复性误差,应根据经验分析硬度分布,合理解释试值误差。
d) 操作方法、试样制备、探头配置如不准确也会造成误差,解决方法请见前几章所述。
9 故障分析与维修



1) 当用标准洛氏硬度块进行检定时,误差均大于2HRC时,可能是球头磨损失效,应考率更换球头或冲击体。
2) 当硬度计出现其它不正常现象时,请用户不要拆卸或调节任何固定装配之零部件,填妥保修卡后,交由我公司维修部门,执行保修条例。仪器在我公司停留时间一般不超过一周。
10 非保修零件清单
1) 外壳
2) 面板
3) 冲击体
4) 支承环部件
5) 探头线
6) 电池
注: 由于用户使用不当造成的损坏不在保修范围内
11 “标准里氏硬度块”的使用说明
“标准里氏硬度块”是硬度计量的一项新标准计量器具,用于里氏硬度计的周期检定和日常校验,从2000年4月1日正式进行里氏硬度量值传递,为让有关硬度计量与试验人员了解并正确使用,作简要介绍:《里氏硬度计》国家计量检定规程(JJG747-1999)对里氏硬度计里氏硬度示值误差和示值重复性的规定和有关要求列于表7中,表中规定适用于新制造、使用中和修理后的金属里氏硬度计。
示值误差:δ= HLD1-HLD2
式中:HLD1 表示5点里氏硬度测定值的算术平均值
HLD2 表示标准里氏硬度块的硬度值
示值重复性: b= HLDmax-HLDmin
式中:HLDmax 表示5点里氏硬度测定值的最大值
HLDmin 表示5点里氏硬度测定值的最小值
上两式之中HLD 也可以为HLDC、HL(D+15)、HLC、HLG 或HLE
表7: 里氏硬度计示值及示值重复性误差一览表
