一、用途
本试验装置是根据GB2099等标准中规定的“球压试验”的要求而设计,主要用于对家用和类似用途插头插座产品进行耐热测试,是有关生产厂家和质检部门进行产品质量检测和控制所必须的设备。
二、使用方法
1. 按试验要求先将球压试验装置放在加热箱内足够长的时间,以确保试验开始之前,球压试验装置已经达到稳定的试验温度。
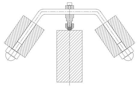
1. 将被试部件放置在支承座上,使之与支承座直接接触。
1. 将被试部件的表面置于水平位置,将钢球压住该表面(见下图)。试验要在标准规定温度的加热箱内进行。
1. 试验达到标准规定的时间之后,将球从试样上卸下,按标准规定的要求冷却之后,测出钢球压痕的直径,判定是否合格。
三、维护保养
本装置用过之后擦拭干净,放在室内干燥、无尘的地方。
